Zdravím,
mám dotaz ohledně držáku na monitor, respektive jeho upevnění na stůl. Bohužel nemám rovnou desku zespod (nejde tam tedy upevnit třeba klasické rameno na mikrofon) VIZ TŘEBA TENTO STŮL. Úplně se mi nechce zbytečně měnit stůl jen kvůli upevnění monitoru, ale našel jsem poměrně zajímavé řešení jak vyrovnat displeje monitoru a notebooku vedle sebe s pomocí klasického VESA držáku s notebookovým rozšířením.
Dotaz směřuje tedy na to, jestli má někdo zkušenosti s nějakým alternativním uchycením, jestli existují nějaké úchyty, které ignorují "nadměrně tlustou desku", respektive kovový vnitřní rám stolu a chytí se o desku až za ním, jde tedy o překonání řekněme 10CM pro uchycení na desku co má 2CM. Jestli jsou nějaká ramena, která mají tento úchyt modulární a počítají s tím, anebo je nějaké rozšíření/speciální úchyt.. nebo?
Rád bych se vyvaroval tomu, že zakoupím nějaké rameno pro monitor + notebook a zjistím, že to nebude pasovat.
Děkuji za vaše rady a nápady.
Jak upevnit držák monitoru/mikrofonu na stůl
Moderátoři: Mods_senior, Mods_junior
Jak upevnit držák monitoru/mikrofonu na stůl
Sestava na mém profilu. | // Telefon: Nothing Phone (1) +Galaxy Watch Active 2
Re: Jak upevnit držák monitoru/mikrofonu na stůl
Nekdy ma ten drzak dve moznosti uchyceni, bud za hranu nebo udelat diru do desky, treba jako tady v manualu
https://www.connectit.cz/ConnectIT/medi ... manual.pdf
https://www.connectit.cz/ConnectIT/medi ... manual.pdf
HP Elitebook 845 G8 (Ryzen 5650U, 32GB RAM, WD SN570 1TB, 14" fullHD IPS) + HP USB-C G5 Essential + 29" LG 29UM65 + 22" Eizo S2202W
Re: Jak upevnit držák monitoru/mikrofonu na stůl
Děkuji, to je taky možnost. Mnohem radši bych se však k "desktruktivním" řešením obrátil až nakonec, resp. vaše řešení je elegantní z hlediska jednoho úzkého šroubu, to je fajn.
Pro alternativní řešení, kdyby to z textu nebylo jasné, tak je hrana mého stolu velmi krátká na jakýkoli držák a pak je tam vysoký rám, který je potřeba překonat, tak věřím, že má někdo nějakou zkušenost s držákem či uchycením, které umí tu zábranu překonat.
VIZ: https://screenshot.cz/F9/F92UJ/deska.png
Dodatečně přidáno po 39 minutách 17 vteřinách:
Pravděpodobně bude vyvrtání šroubu do desky jediná a nejlepší možnost.. nechám téma ale otevřené pro další tipy, díky.
Ten držák od mallu má taky úchyt viz manul connectitu, takže asi skončím u toho https://screenshot.cz/39/39ZH2/snimek-o ... 213638.png.
Pro alternativní řešení, kdyby to z textu nebylo jasné, tak je hrana mého stolu velmi krátká na jakýkoli držák a pak je tam vysoký rám, který je potřeba překonat, tak věřím, že má někdo nějakou zkušenost s držákem či uchycením, které umí tu zábranu překonat.
VIZ: https://screenshot.cz/F9/F92UJ/deska.png
Dodatečně přidáno po 39 minutách 17 vteřinách:
Pravděpodobně bude vyvrtání šroubu do desky jediná a nejlepší možnost.. nechám téma ale otevřené pro další tipy, díky.
Ten držák od mallu má taky úchyt viz manul connectitu, takže asi skončím u toho https://screenshot.cz/39/39ZH2/snimek-o ... 213638.png.
Sestava na mém profilu. | // Telefon: Nothing Phone (1) +Galaxy Watch Active 2
Re: Jak upevnit držák monitoru/mikrofonu na stůl
Vždyť si můžeš nechat uříznout kousek C profilu, nebo naohýbané pásoviny, navařit na něj matku, našroubovat šroub a udělat si svěrku libovolného tvaru. Je taky dobrý si uvědomit, že nemusí být staženo do desky, ale klidně i přes ten jäkl. Čím delší bude vzdálenost od hrany stolu, tím míň pevná bude svorka a navíc bude mít tendenci se roztahovat.
Děkuju za vaše názory a rady. 
Re: Jak upevnit držák monitoru/mikrofonu na stůl
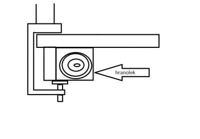
Proč prostě nedáš za tu hranu stolu pod šroub nějakou podložku, třeba kus dřevěného hranolku. myslím si že se najde držák s dostatečným rozvorem. Záleží kolik má ten rantl. Tahle má do 9,5cm tloušťky stolu.https://www.tsbohemia.cz/hama-stolni-dr ... mPEALw_wcB
Re: Jak upevnit držák monitoru/mikrofonu na stůl
@cervcek takové řešení mě samozřejmě napadlo, ale nejsem bohužel v situaci, kdy můžu řezat či svařovat kovové profily, "po kapsách" najdu leda pilku na železo a jsem rád, že jsem rád
pro kutily ale dobrý a logický nápad..
@drobino, tak takové řešení mě teda vůbec nenapadlo
myslíte, že co se stability týče, tak je to pro monitor s notebookem dobrá páka? Už vidím jak se "podložka" po měsíci uvolní a technika padá. Nápad dobrý, ale asi bych to viděl jen na lehké věci alá mikrofon apod., ale super tip!
Zkusím nad vašimi nápady ještě popřemýšlel jestli by doopravdy nešly nějak udělat, ale jak znám své kutilství, tak by se to časem zlomilo/uvolnilo a hodnota techniky by mě pak mrzela mnohem více, než malá díra v desce, skrze kterou projde alternativní uchycení držáku, takže asi zvolím tuto variantu od @zivana.
@drobino, tak takové řešení mě teda vůbec nenapadlo
Zkusím nad vašimi nápady ještě popřemýšlel jestli by doopravdy nešly nějak udělat, ale jak znám své kutilství, tak by se to časem zlomilo/uvolnilo a hodnota techniky by mě pak mrzela mnohem více, než malá díra v desce, skrze kterou projde alternativní uchycení držáku, takže asi zvolím tuto variantu od @zivana.
Sestava na mém profilu. | // Telefon: Nothing Phone (1) +Galaxy Watch Active 2
Re: Jak upevnit držák monitoru/mikrofonu na stůl
Věřím že i tak to bude držet ale pokud chceš mít jistotou tak hranolek provrtej a přichytni je ke stolové desce vruty. To už se 100pro neuvolní. Hlavně to nepřehnat ať neprojdou vruty stolovou deskou. Možnost je i přilepit ale to už je v podstatě nevratné.
-
- Podobná témata
- Odpovědi
- Zobrazení
- Poslední příspěvek
-
- 4 Odpovědi
- 4832 Zobrazení
-
Poslední příspěvek od meda2016
-
- 0 Odpovědi
- 5963 Zobrazení
-
Poslední příspěvek od beestback
-
- 34 Odpovědi
- 22502 Zobrazení
-
Poslední příspěvek od teichmann.ondrej
-
- 9 Odpovědi
- 10142 Zobrazení
-
Poslední příspěvek od Fargotroniac
-
- 7 Odpovědi
- 8814 Zobrazení
-
Poslední příspěvek od petr22




